LA652 Red aislada - final de circuito 11,4 kV o 13,2 kV
- Contenido

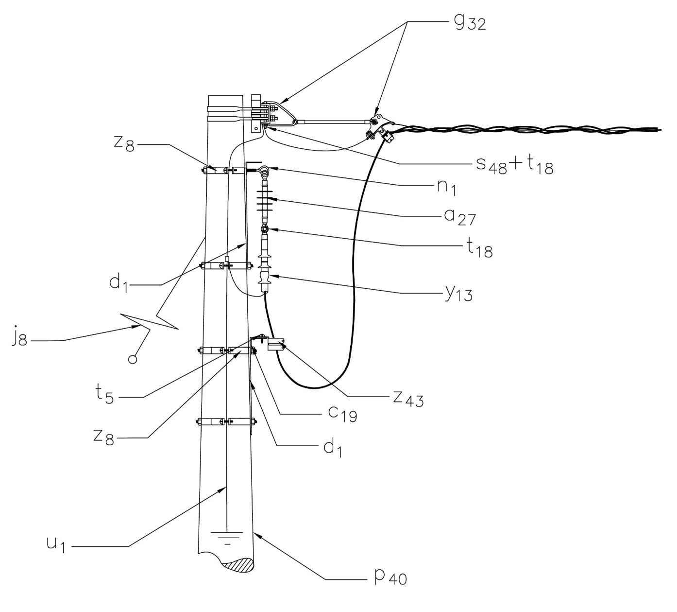
LISTA DE MATERIALES
SÍMB | CANT. | CÓDIGO | ESP. TÉCNICA | DESCRIPCIÓN |
a27 | 3 | 300546 | GSCC010 | Aislador de suspensión polimérico 24 kV. GSCC010/01. |
c19 | 2 | 251506 | ET419 | Cruceta metálica de 2,5 m |
d1 | 4 | 240083 | ET405 | Diagonal metálica en varilla tipo 1 |
g32 | 1 | 251576 | ET448 | Conjunto retención sencillo red MT aérea aislada |
j8 | 1 |
|
| Templete (1) |
n1 | 3 | 201016 | ET461 | Perno de ojo tipo 1 (5/8” x 203 mm) |
p40 | 1 | 6769870 | GSS002 | Poste de concreto de 12 m, 1 350 kgf (2) |
s48 | 3 |
| ET302 | Conector bimetálico terminal de compresión tipo pala1 hueco, 1/0AWG (3) |
t5 | 5 | 251363 | ET456 | Tornillo de carruaje 15,9 mm (5/8”) x 38,1mm (1 ½”) |
t18 | 4 | 251370 | ET457 | Tornillo de acero galvanizado 1/2" x 3" |
u1 | 1 | 201074 | ET492 | Kit de puesta a tierra MT en acero inoxidable |
y13 | 3 | 274587 | GSCC005 | Terminal contraible en frio uso exterior 15 kV conector tipo pala Cu/Al 95-240 mm² |
z8 | 3 | 274299 | ET431 | Abrazadera de una salida tipo 3, 180 mm (5) |
z43 | 3 | 250043 | ET494 | Elementos de sujeción de cable MT aislado monopolar a cruceta metálica |
ALTERNATIVAS:
- Según se requiera (LA010-1).
- Poste de fibra (ET205) o metálico (ET208). El poste que aparece en la lista es una referencia, consulte la norma (LA010-1) para su selección.
- Los terminales de compresión tipo pala que aparecen en la lista son una referencia, consulte la Especificación Técnica (ET302) para su selección.
- Los terminales pre moldeados que aparecen en la lista es una referencia, consulte la Especificación Técnica (GSCC005) para su selección.
- Las abrazaderas que aparecen en la lista son una referencia, para su selección determine el diámetro del poste del caso a la altura respectiva.
NOTAS
- Ver las consideraciones dadas en la norma LA650 Red Aislada - Generalidades.
- La cimentación debe realizarse según la norma LA009-1.
- El cable de red MT aérea aislada se encuentra definido en GSCC008 MV Aerial Bundled Cables.
DATOS ADICIONALES
Revisión #
3
Fecha de entrada en vigencia
Actividad de los usuarios
Para hacer comentarios debe iniciar sesión o registrarse aquí