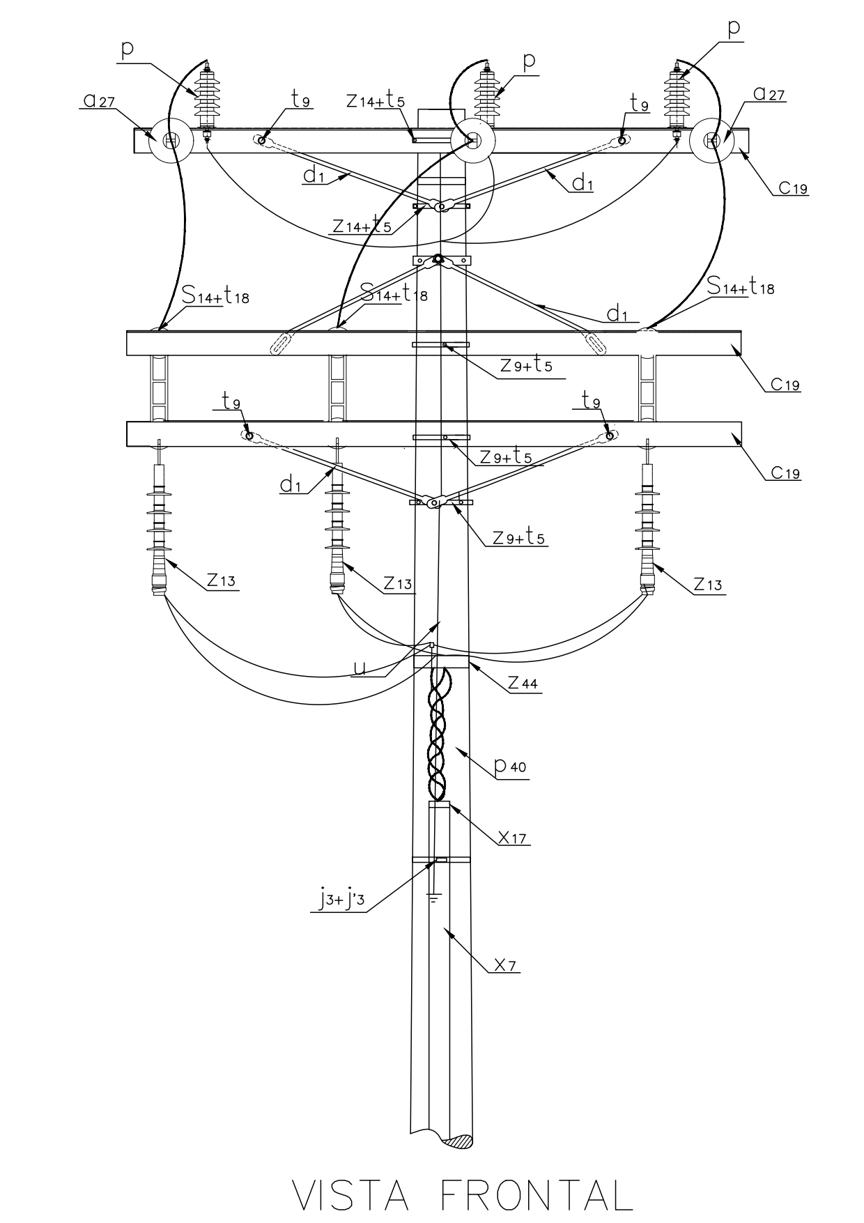
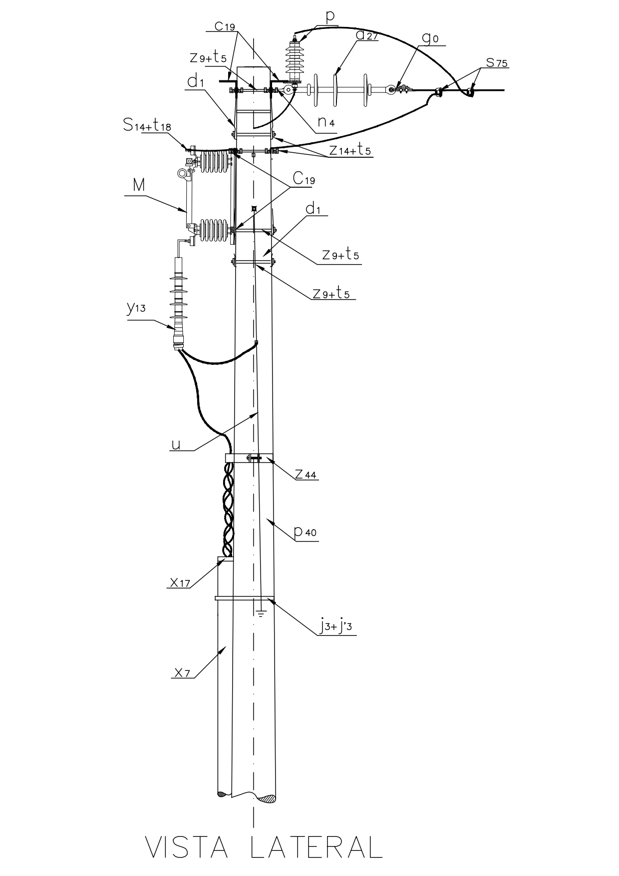
LA218 Circuito primario sencillo terminal con derivación de cable triplex
- Contenido


LISTA DE MATERIALES
| SÍMB. | CANT. | CÓDIGO | ESP. TECNICA | DESCRIPCIÓN |
| a 27 | 3 | 300013 | GSCC010 | Aislador de suspensión compuesto horquilla 24 kV |
| c 19 | 4 | 251506 | ET419 | Cruceta metálica de 2,5 m |
| d 1 | 6 | 240083 | ET405 | Diagonal metálica en varilla tipo 1 |
| g 0 | 3 | 200635 | ET350 | Grapa terminal tipo recto para cables entre 3/0 AWG – 266,8 kcmil |
| j 3 | 2 | 780182 | ET450 | Metros de cinta de acero inoxidable 5/8”x 0,03” |
| j´ 3 | 2 | 780351 | ET450 | Hebilla de acero inoxidable 5/8” |
| M | 3 | 140995 | E-MT-006 | Seccionador monopolar 400 A 15 kV tipo cuchilla |
| n 4 | 3 | 201020 | ET461 | Perno de ojo tipo 4 (5/8” x 400 mm) |
| P | 3 | 170892 | GSCC016 | DPS 12 kV 10 kA |
| p 40 | 1 | 230052 | GSS002 | Poste de concreto de 12 m 1 350 kg (1) |
| s 14 | 1 | 274304 | ET302 | Conector terminal de compresión tipo pala 2 huecos, 4/0 AWG |
| s 75 | 6 | 274320 | ET356 | Conector tipo cuña P=95 D=70mm² o 4/0-2/0AWG (2) |
| t 5 | 7 | 251363 | ET456 | Tornillo de carruaje 5/8" x 1 1/2" |
| t 9 | 8 | 274482 | ET457 | Tornillo de acero galvanizado 5/8" x 2" |
| t 18 | 2 | 251370 | ET457 | Tornillo de Acero Galvanizado 1/2" X 3" |
| u | 1 | 200291 | ET492 | SPT Acero Afloramiento |
| x 7 | 6 | ET601 | Metros de tubo galvanizado 4" (3) | |
| x 17 | 2 | ET604 | Boquilla galvanizada 4" (3) | |
| y 13 | 3 | 274587 | GSCC005 | Terminal Exterior 24 kV 95-240 mm^2 (4) |
| z 9 | 3 | 250002 | ET495 | Elementos de sujeción de cable MT aislado tripolar a poste |
| z 14 | 2 | 274311 | ET-432 | Abrazadera de dos salidas tipo 4, 200 mm (5) |
| z 44 | 2 | 250002 | ET495 | Elementos de sujeción de cable MT aislado tripolar a poste |
ALTERNATIVAS:
(1) Poste metálico (GSS003) o Poste de Fibra (GSS004).
(2) El conector tipo cuña que aparece en la lista es una referencia, consulte la ET356 para su selección adecuada.
(3) Dependiendo del calibre del conductor de 15kV o si hace parte del circuito principal se utilizará ducto de 6”.
(4) Los terminales para uso exterior que aparecen en la lista son una referencia, consulte la Especificación Técnica (GSCC005) para su adecuada selección.
(5) La abrazadera de dos salidas que aparece en la lista es una referencia, consulte la ET432 para su selección adecuada.
NOTAS:
- El terminal contraíble en frio para uso exterior (GSCC005) incluye el conector terminal de compresión tipo pala con una perforación M 12 para el apantallamiento.
DATOS ADICIONALES
Revisión #
7
Fecha de entrada en vigencia
Actividad de los usuarios
Para hacer comentarios debe iniciar sesión o registrarse aquí