LA451 Red compacta en bandera – final de circuito
- Contenido

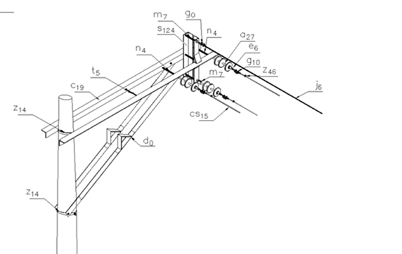
Figura 1. Vista isométrica

Figura 2. Vista Frontal.
LISTA DE MATERIALES
Cantidad | Código | ET | Descripción | |
a27 | 3 | 300013 | Aislador de suspensión polimérico 24 kV. | |
c19 | 2 | 251506 | Cruceta metálica 2.5 m on="canonical">Aislador de suspensión polimérico 24 kV. | |
cs15 |
| 330015 | Cable semi aislado, AAC, 95 mm^2, 15 kV | |
d0 | 2 | 200284 | Diagonal metálica en ángulo 2 ½ “ x 2 ½ “ x ¼ “ | |
e6 | 5 | 251492 | Eslabón en U 5/8” | |
s124 | 2 | 200286 | Herraje Retención Red Compacta Bandera | |
j6 |
| 310410 | Cable mensajero, cable 3/8" acero extra alta resistencia | |
g0 | 1 | 200636 | Grapa tipo recto Cable Acero 3/8” | |
g10 | 3 | 251487 | Guardacabos 5/8 “ | |
m7 | 2 | 251362 | Tuerca ojo alargado 5/8 “ | |
p6 | 1 | 230966 | Poste de concreto 12 m, 1050 kg (1) | |
t5 | 5 | 251363 | Tornillo carruaje 5/8” x 1 1/2" | |
z14 | 2 | 274311 | Abrazadera de dos salidas tipo 4, 200 mm. (2). | |
z46 | 3 | 200204 | Amarre preformado semiaislado AAC 95mm2 15kV |
ALTERNATIVAS:
(1) Poste de fibra o metálico.
(2) La abrazadera que aparece en la lista es una referencia, consulte la ET432 para su selección adecuada.
NOTAS:
DATOS ADICIONALES
Revisión #
1
Fecha de entrada en vigencia
Actividad de los usuarios
Para hacer comentarios debe iniciar sesión o registrarse aquí