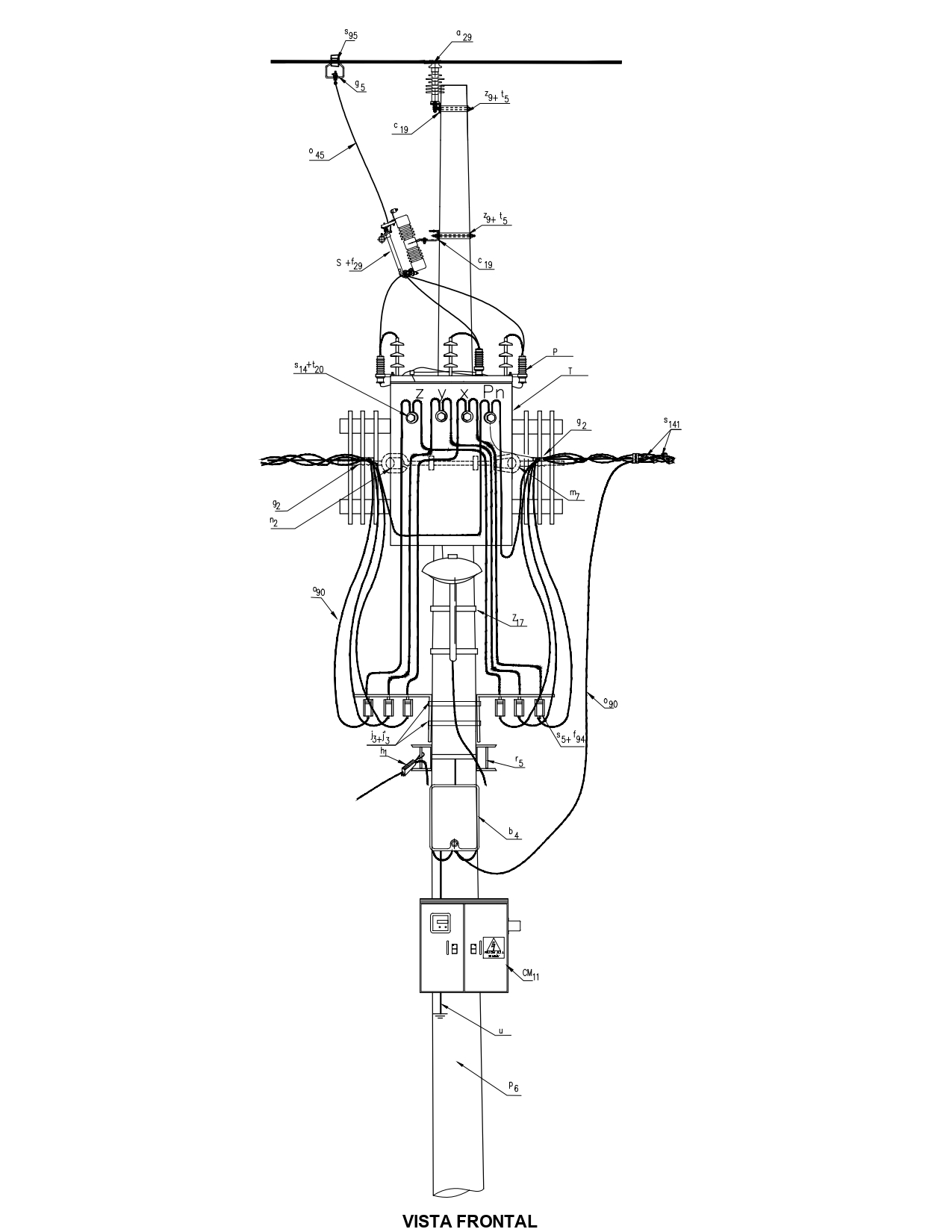
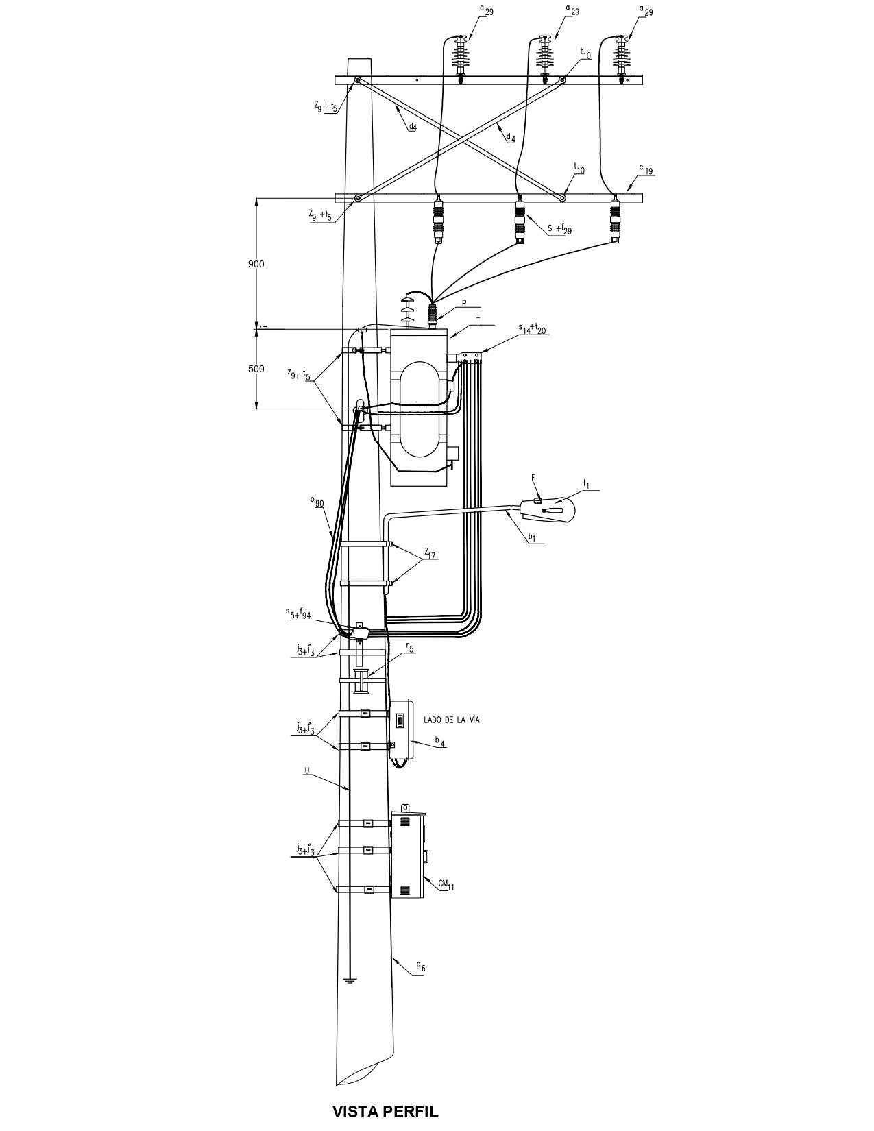
CTU502 Montaje en poste de transformador trifásico. Circuito en bandera.
- Contenido


LISTA DE MATERIALES:
| SÍMB. | CANT. | CÓDIGO SAP | ESP. TÉCNICA | DESCRIPCIÓN |
| a 29 | 3 | 300010 | GSCC010 | Aislador Line Post Compuesto Portaislador 24kV |
| b 1 | 1 | 6762530 | ET832 | Soporte para luminaria horizontal Ø 3/4”x 1.5 m en vías secundarias |
| b 4 | 1 | 163233 | ET925 | Caja para derivación de acometidas. |
| c 19 | 2 | 251506 | ET419 | Cruceta metálica 2,5 m |
| CM 11 | 1 | 280030 | ET933 | Caja para medición inteligente (1) |
| d 4 | 2 | 240080 | ET406 | Diagonal metálica en ángulo tipo 3 (1½ ‘’x 1½’’ x 3/16’’ x 2,20m) |
| F | 1 | 6762325 | ET810 | Fotocontrol 1000 W / 1800 VA 205 / 305 V, tipo NC |
| f 29 | 3 | 170826 | ET505 | Fusible dual MT(2) |
| f 94 | 3 | 170824 | SCL004 | Fusible NH BT(2) |
| g 2 | 2 | 274314 | ET354 | Grapa retención aislada para red trenzada de B.T. |
| g 5 | 3 | 251355 | ET352 | Grapa para operar en caliente |
| h 1 | 4 | 251380 | ET353 | Tensor de acometidas |
| h 5 | 2 | 251389 | ET430 | Herraje para soporte de seccionador de B.T. de 160A |
| j´ 3 | 9 | 780351 | ET450 | Hebilla de acero inoxidable 5/8” |
| j 3 | 3 | 780182 | ET450 | Metros de cinta de acero inoxidable 5/8”x0,03” |
| l 1 | 1 | 6762554 | ET801 | Luminaria horizontal de sodio 70 W para vías secundarias (3) |
| m 7 | 1 | 251362 | ET454 | Tuerca de ojo alargado 5/8” |
| n 2 | 1 | 201029 | ET461 | Perno de ojo tipo 2 ( 5/8” x 254 mm ) |
| o 21 | 330602 | ET116 | Metros de cable de cobre calibre 2/0 AWG aislado a 600 V | |
| o 45 | 12 | 310418 | ET121 | Metros de cable desnudo de cobre calibre 4 AWG |
| o 90 | 6 | 330661 | GSCC009 | Metros de cable GSCC009/012 Neutro Auto soportado Al 3x95+54,6 mm 2 |
| P | 3 | 170892 | GSCC016 | DPS 12 kV 10 kA |
| p 6 | 1 | 230957 | GSS002 | Poste de concreto de 12 m 750 kgf (4) |
| r 5 | 2 | 251365 | ET417 | Percha porta aislador de un puesto |
| S | 3 | 170095 | GSCM012 | Cortacircuito monopolar 24kV 100A |
| s 5 | 3 | 170852 | ET511 | Seccionador portafusible para BT 160A |
| s 14 | 8 | 274304 | ET302 | Conector terminal de compresión tipo pala 2 huecos, 4/0 AWG (5) |
| s 95 | 3 | ET356 | Conector cuña con estribo 4/0 – 2 AWG (6) | |
| s 141 | 4 | ET306 | Conector de tornillo con chaqueta aislante, tipo 2 (7) | |
| T | 1 | GST001 | Transformador de distribución hasta 150 kVA y peso menor a 700 kg,11 400 V - 208/120 V | |
| t 5 | 8 | 251363 | ET456 | Tornillo de carruaje 5/8” x 1 ½” |
| t 10 | 2 | 251364 | ET457 | Tornillo de acero galvanizado 5/8” x 5” |
| t 20 | 8 | Tornillo de bronce para borna terminal | ||
| u | 1 | 200289 | ET492 | SPT Acero Transformador Trifásico |
| z 9 | 2 | 274300 | ET431 | Abrazadera de una salida tipo 4, 200 mm (8) |
| z 14 | 2 | 274311 | ET432 | Abrazadera de dos salidas tipo 4, 200 mm (9) |
| z 17 | 2 | Abrazadera de 180 mm para soporte de luminaria en vías secundarias |
ALTERNATIVAS:
(1) La instalación de la Caja para medición inteligente, es opcional.
(2) Los fusibles en la lista son una referencia, consultar la norma CTU516, para su selección adecuada.
(3) La luminaria que aparece en lista es una referencia, consulte la ET801 para su selección adecuada.
(4) Poste metálico (GSS003) o Poste de Fibra (GSS004).
(5) El conector terminal de compresión tipo pala, que aparece en la lista es una referencia, consulte la ET302, para su selección adecuada.
(6) El conector tipo cuña, que aparece en la lista es una referencia, consulte la ET356, para su selección adecuada.
(7) El conector de tornillo con chaqueta aislante que aparece en la lista es una referencia, consulte la ET306, para su selección adecuada.
(8) La abrazadera de una salida que aparece en la lista es una referencia, consulte la ET431 para su selección adecuada. Para transformadores de 112,5 kVA y 150 kVA, utilizar abrazaderas de 3” z11.
(9) La abrazadera de dos salidas que aparece en la lista es una referencia, consulte la ET432 para su selección adecuada.
NOTAS:
- Esta estructura es válida con transformador hasta 150 kVA y peso menor a 700 kg.
- Consultar la norma CTU516.
- En los transformadores con conector tipo ojo que necesite un número mayor de salidas puede utilizar platina de cobre (s33) y tornillo de bronce (t20) y conector terminal tipo pala (s13).
- Los cortacircuitos se instalarán del lado contrario del transformador. Se ubicará encima del transformador si hay elementos cercanos que afecten su instalación o dificultad en el cambio de los portafusibles.
- La selección de las abrazaderas depende del diámetro del poste (tipo, altura y carga) en el punto requerido.
- Para la selección del poste se debe tener en cuenta además del peso del transformador el tipo de estructura en MT que se utilice: de paso, de bandera, cambios de dirección y retenciones.
- En caso de requerirse puede ser instalado el material CM12 Caja cubierta para CT´s, de la ET914.
- La altura de colocación de la percha porta aislador de un puesto (r5) para sujetar las acometidas debe permitir cumplir con las alturas de las acometidas sobre el piso en vías y en las fachadas de las viviendas.
DATOS ADICIONALES
Revisión #
5
Fecha de entrada en vigencia
Actividad de los usuarios
Para hacer comentarios debe iniciar sesión o registrarse aquí